YRT Rundtischlager Montagepassungen
- 2019/5/16 13:27:19
Die YRT-Rundtischlager sollten mit den Wellen- und Lagersätzen installiert werden, und die Installation ist übergangssicher. Falsche Passungen beeinträchtigen die Rotationsgenauigkeit und die dynamische Leistung. Zum Beispiel erhöht ein enger Sitz die radiale Vorspannung der YRT-Rundtischlager. Dann steigt die Reibung, es entsteht viel Wärme, die Belastung und der Verschleiß der Laufbahn nehmen zu, so dass die die Geschwindigkeit und Lebensdauer begrenzenden YRT-Rundtischlager abnehmen.
Die Präzision der Bearbeitung der Welle und des Lagersatzes, der Sitz der Lagerringe, der Welle und des Lagersatzes beeinflussen den Axialschlag und den Radialschlag des Lagers. Um eine hohe Rotation zu erzielen, sollte die Spielpassung nahe Null sein.
* X * Damit die Größe der Welle problemlos mit der des Lagers und des Lagergehäuses übereinstimmt, sehen Sie die mit den Lagern gelieferte Prüfbescheinigung.
Hinweis zum Lagersitz mit der Welle.
Die Toleranz der Welle beträgt H5. Bei hoher Drehgenauigkeit und Innenringdrehung sollte die Spielpassung nahe Null sein, da sonst die Spielpassung den Rundlauf des Lagers erhöht. Bei höherer Drehzahl und längerer Laufzeit darf die Spielpassung 0,01 mm nicht überschreiten. Bei den HYTS-Hochgeschwindigkeitslagern darf die Spielpassung 0,005 mm nicht überschreiten.
Bei den Lagern der HYZF-Serie sollte die Spielpassung entsprechend der Größe des kleineren Rings festgelegt werden, da diese Art von Lager zwei Innenringe aufweist.
Hinweis zur Lagerpassung mit dem Lagergehäuse.
Die Toleranz des Lagersatzes beträgt J6. Bei hoher Drehgenauigkeit und Außenringdrehung sollte die Spielpassung nahe Null sein. Wenn der Außenring nicht läuft, sollten wir den Vorschlag der Spielpassung oder die Konstruktion verwenden, bei der keine radiale Positionierung erforderlich ist. Für den Fall einer höheren Drehzahl und einer längeren Betriebsdauer sollte der Außenring nicht die Konstruktion verwenden, die eine radiale Positionierung erfordert, und die Spielpassung sollte mindestens mehr als 0,02 mm betragen. Dies kann die Überlast verringern, wenn das Lager starker Hitze ausgesetzt ist .
Die Auswahl des Lagersitzes.
Die Rundtischlager werden mit Schrauben befestigt. Wenn der Außenring des Lagers an den feststehenden Teilen befestigt ist, müssen wir kein Lagergehäuse verwenden, um eine radiale Positionierung vorzunehmen, oder um eine Spielpassung zu wählen, da dies die Montage einfacher macht.
Wenn der Innenring des Rundtischlagers aus funktioneller Sicht mit Schrauben an stationären Teilen befestigt ist, muss die Axialrichtung des Lagers von der Welle gehalten werden und dicht am Spiel sein.
Bei den HYTS-Hochgeschwindigkeitslagern können Sie sich wegen der hohen Drehzahlleistung an uns wenden, um die technischen Details zu erfahren. Daher stellen Welle und Lagersatz hohe Anforderungen an die Genauigkeit.
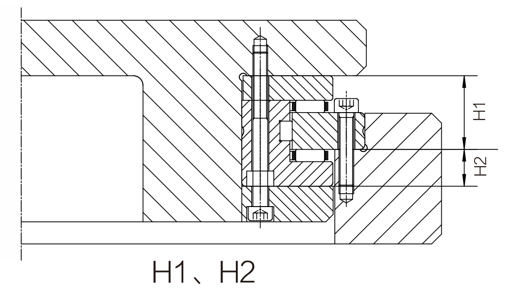
Die Größenanforderung des H1, H2
Die Höhenabweichung sollte so gering wie möglich sein. Die Abweichung von H1 (Bild 1) muss anhand der Daten auf Seite 25 kontrolliert werden. H2 bestimmt die Turbinenposition in der Schneckengetriebestruktur. Siehe Abbildung 1 oder Abbildung 2, Innenring in L-Form mit Stützring.

Der Innenring in L-Form mit Stützring oder ohne Stützring.
Die gesamte Stirnfläche des Innenrings in L-Form hat Unterstützung für das HYT-VSP-Lager oder nicht für das HYT-Lager. Siehe Abbildung 2. Wenn der Innenring in L-Form unterstützt wird, ist die Starrheit des Umkippens größer. Stützring (zB Turbine) wird nicht angeboten.
Bei L-förmigen Ringen mit Stützring hat der Lagertyp das Nachsetzzeichen VSP, z. B. HYT200VSP. Die Höhe des Stützrings sollte doppelt so hoch sein wie die des zweiten Innenrings.
* X * Bitte bestätigen Sie den Installationstyp beim Kauf.





